2000 Ford Contour Fuse Box Diagram Wiring Schematic


2000 Ford Contour Fuse Box Diagram Wiring Schematic

Presently you are looking for an 2000 Ford Contour Fuse Box Diagram Wiring Schematic example that will we provide here within some kind of document formats such as PDF, Doc, Power Point, as well as images that will will make it simpler for you to create an 2000 Ford Contour Fuse Box Diagram Wiring Schematic yourself. For a clearer look, you are able to open a few examples below. All the good examples about 2000 Ford Contour Fuse Box Diagram Wiring Schematic about this web site, we get from several sources so you can create a better document of your own. In case the search you acquire here does not match up what you are seeking for, please make use of the search feature that we have provided here. You will be free to download anything at all that we provide here, investment decision you won't cost you the particular slightest.

2000 Ford Contour Fuse Box Diagram – Circuit Wiring Diagrams

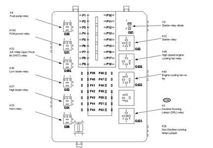
2000 Ford Contour Fuse Box Map. Fuse Panel Layout Diagram Parts: starter relay, high speed engine, cooling fan relay, engine cooling fan relay, daytime running lamp relay, High beam relay, horn relay, starter relay diode, fuel pump relay, PCM power relay, A/C wide Open, Low beam relay,

Ford Contour (1996

Ford Contour (1996 – 2000) – fuse box diagram. Year of production: 1996, 1997, 1998, 1999, 2000. Power distribution box fuses and relays Ford Contour – fuse box ...

Fuse Box Diagram Ford Contour (1996

The mid-size car Ford Contour was produced from 1996 to 2000. In this article, you will find fuse box diagrams of Ford Contour 1996, 1997, 1998, 1999 and 2000, get ...

Ford Contour (1993 – 2000) – fuse box diagram – Circuit ...

Ford Contour (1993 – 2000) – fuse box diagram ♥♥ This is diagram about Ford Contour (1993 – 2000) – fuse box diagram you can learn online!!

2000 Ford Contour Fuse Box | Fuse Box And Wiring Diagram

2000 ford contour fuse box - thanks for visiting my site, this blog post will go over regarding 2000 ford contour fuse box. We have accumulated numerous pictures, with any luck this image serves for you, as well as help you in finding the response you are seeking. Description : 1997 Ford Contour Fuse Box. 1997.

1998

Listed below is the vehicle specific wiring diagram for your car alarm, remote starter or keyless entry installation into your 1998-2000 Ford Contour.This information outlines the wires location, color and polarity to help you identify the proper connection spots in the vehicle.

2000 Ford Contour, Mercury Mystique Electrical Wiring ...

2000 Ford Contour, Mercury Mystique Electrical Wiring Diagrams... All Models Including Contour SE, SE Sport & SVT / Mystique GS & LS | 2.0L I4 & 2.5L V6 Engines... Ford Motor Company

Fuse box location and diagrams: Ford Contour (1996

See more on our website: https://fuse-box.info/ford/ford-contour-1996-2000-fuses-and-relays Fuse box diagram (location and assignment of electrical fuses and...

2000 Ford Contour Fuel Pump Wiring Diagram

302e 2000 ford contour fuel pump wiring diagram library for circuit truck enthusiasts forums 1999 connection 5 wire alldatadiy com 2001 zx2 l4 2 0l dohc vin 3 electrical diagrams ys 3587 96 free 5l mil light on rough idle then stall occasional no start not getting power during d2aff9 taurus fuse resources where is the location of… Read More »

wiring diagram 99 ford contour

1999 ford contour wiring diagrams giant www champion testen de harness e26 diagram 3ca52 99 f350 schematic resources nb 5901 fuse on 98 svt box 1ca 2000 library e24 for cougar 1999 Ford Contour Wiring Diagrams Giant Www Champion Testen De 1999 Ford Contour Wiring Diagrams Giant Www Champion Testen De 1999 Ford Contour Wiring Harness E26 Diagram… Read More »

Copyright 2020 - All Rights Reserved